2025年,西安培华学院会计与金融学院紧密围绕学校发展战略,坚持“服务社会、产教融合”的宗旨,在科学研究、成果转化、社会服务等方面取得了显著成效,展现了学院雄厚的科研实力和积极服务区域经济社会发展的使命担当。
一、科研项目量质齐升,纵向立项实现新突破
学院高度重视纵向科研项目的培育与申报工作,2025年共获批各级各类纵向科研项目40余项,其中省部级项目占比稳步提升,涵盖哲学社会科学研究专项、科技计划项目、社科规划基金、教育科学规划课题等多个领域,彰显了学院教师扎实的研究功底和敏锐的学术前沿洞察力。


二、学术论文成果丰硕,高水平论文发表捷报频传

学院教师潜心学术研究,在高水平期刊上发表论文数量与质量再创新高。全年共发表学术论文60余篇,其中被SCI、SSCI、EI等国际权威检索收录的高水平论文10余篇,在中文核心、科技核心期刊上发表论文20余篇,充分体现了学院教师的学术创新能力。
图1:2025年会计与金融学院发表文分类统计

经统计可以看出学院教师在高质量国际学术期刊上持续取得重要突破,彰显了深厚的研究实力。王仓红助理研究员在能源政策与交通政策领域表现尤为突出,其成果相继发表于《Energy》(SCI一区Top)和《Transport Policy》(SSCI一区)等顶级期刊。段梦娟副教授在《ALEXANDRIA ENGINEERING JOURNAL》(SCI II区)上发表了关于区域金融风险预测的前沿研究。邓向梅副教授则在《Finance Research Letters》(SSCI二区)上探讨了社会保障与家庭经济韧性之间的重要关联。此外,涂玉侠副教授、张元芳副教授、陈敬东教授等多位教师也在SCI、SSCI及EI收录的权威期刊上发表了多项重要研究成果,共同构成了学院高水平科研产出的亮眼矩阵。
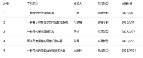
三、知识产权创造活跃,专利与软著申请稳步推进
本年度学院鼓励教师将科研成果转化为知识产权,积极服务行业技术创新。2025年,学院教师申请并获得多项专利授权,软件著作权登记工作也取得进展。
表1:2025年会计与金融学院部分专利成果

四、社会服务成果显著,技术成果转化效益突出
学院充分发挥会计、金融、评估等领域的专业优势,紧密围绕区域经济发展需求,深度开展产学研合作与企业咨询服务,将前沿理论研究成果高效转化为解决企业实际问题的方案。2025年度,学院承接的横向技术服务项目数量与规模再创新高,累计完成各类咨询、开发及服务项目 78项,累计合同金额超过 779.66万元。服务范围广泛覆盖信息技术、装备制造、建筑工程、环保新能源、文化传媒、商务服务、批发零售以及金融等八大重点行业,为多地企业的数字化转型、财税优化、风险管控、战略发展与创新创业提供了强有力的智力支持和实践赋能,显著提升了服务区域经济社会发展的贡献度与影响力。
表2:2025年会计与金融学院部分专利成果

五、学术著作与科研获奖,夯实学科发展基础
学院高度重视学术积淀与成果凝练,通过系统性的著作出版与高质量的成果申报,持续夯实学科发展的理论基础,并不断提升学界与业界的认可度。
教师在学术著作出版方面成果斐然,2025年度共出版专著4部,紧密对接国家战略,构筑了特色鲜明的研究体系。张坤副教授的专著《宏观流动性传导机制与金融改革研究——以金融摩擦为视角》聚焦宏观金融与制度变革,围绕金融摩擦视角系统阐释流动性传导机制与改革路径,为国家金融政策优化与系统性风险防控提供了理论支持,进一步拓展了学院在宏观金融与金融安全领域的研究深度。王仓红助理研究员独著的《绿色增长与可持续发展对生态足迹影响:基于多变量的实证研究》立足绿色发展前沿,通过实证分析揭示了绿色金融、科技创新等多重变量对生态效率的影响机制,为探索经济增长与环境保护协同路径贡献了重要学术洞见。楚文静副教授独著的《数据要素赋能民营企业韧性提升的机制与路径研究》紧扣数字经济,深入剖析数据驱动企业创新与治理优化的内在机理,为民营企业数字化转型提供实践指南。周嫚副教授、刘雪婷副教授和韩婷婷老师合著的《农村资源资产评估理论与实务》面向乡村振兴,系统构建了农村多元资源价值评估的操作框架,为城乡融合发展提供关键技术支撑。

在科研获奖与成果应用方面,学院成效显著,成果质量与社会影响力持续提升。茹少峰教授、徐璋勇教授、罗新远教授共同撰写的决策咨询报告《“十五五”稳步增加我省农村居民收入水平的建议》被陕西省社科联《社科要报》2025年第41期采用,体现了研究成果服务省委省政府决策的咨政价值。罗新远教授、吴春娜教授完成的《灞桥区农村集体经济发展壮大方案》荣获陕西高等学校人文社会科学研究优秀成果二等奖。吴春娜教授、罗新远教授等撰写的调研报告《汉阴县国企带镇村模式促进乡村振兴的调研报告》在2025年陕西省经济学学会专题研讨会中获评优秀成果二等奖。此外,涂玉侠副教授的研究报告《基于高水平对外开放视角的陕西对外贸易风险评价研究报告》获得西安培华学院优秀科研成果奖二等奖。吴春娜教授主持完成的《汉阴县壮大集体经济及国企带镇村研究报告》获得西安培华学院优秀科研成果奖三等奖。这些成果的获奖与采纳,充分反映了学院在社会科学研究领域的学术水平、实践价值与政策影响力,展现了科研服务地方经济社会发展的重要贡献。


六、机构建设、团队发展与智库申报成果凸显学院综合创新生态
西安培华学院会计与金融学院持续深化“科教融合、服务地方”的发展理念,不仅在高水平科研项目、学术论文、专著出版等方面成果丰硕,更在科研平台建设、团队培育与智库申报等领域实现系统性突破,形成“机构-团队-智库”三位一体的科研创新体系,为学院科研高质量发展注入新动力。
学院积极推动科研平台实体化建设与内涵式发展,目前已建成三个校级科研机构:依托学院优势学科、聚焦金融创新与会计实务前沿的“会计与金融研究中心”,围绕数字经济与乡村振兴开展电商模式创新与区域应用的“电子商务应用研究所”,以及服务地方经济与企业转型、系统开展资产定价、数据资产评估与政策咨询研究的“资产评估研究中心”。其中,资产评估研究中心于2025年成功申报并获批“西安市科技创新智库”,成为学院首个获批的省市级智库平台,标志着学院在智库建设与决策服务方面实现重要突破。这些机构覆盖会计、金融、资产评估、电子商务等多个研究方向,为教师开展跨领域、前瞻性研究提供了有力支撑。
表3西安培华学院会计与金融学院校级科研机构

学院高度重视科研团队建设,目前已组建六支校级创新团队,形成“带头人+骨干+青年学者”的协同创新机制:包括推动大数据、人工智能在财会金融领域融合应用的“数智商科创新团队”,聚焦农村电商、农产品供应链与数字化乡村建设的“电商赋能乡村振兴科技创新团队”,围绕自然资源、生态资产与农村资源开展价值评估研究的“资源资产评估研究创新团队”,研究数据要素流通、数字金融与产业数字化转型的“数字经济创新团队”,专注企业估值、并购重组与无形资产评估的“企业价值评估创新团队”,以及探索数据资产化、交易机制与治理模式创新的“数据资产交易服务创新团队”,共同构建起覆盖数字经济、资产评估、乡村振兴等关键领域的科研攻关体系。
表4西安培华学院会计与金融学院校级创新团队

“资产评估研究中心”成功获批“2025年度西安市科技创新智库”,成为学校首批获认定的市级智库之一。该智库由吴旺延教授领衔,汇聚多名资产评估、数据资产、企业估值等领域的骨干教师,并与正衡房地产资产评估有限公司、北京卓信大华资产评估有限公司陕西分公司等机构建立深度合作。智库将围绕“企业资产评估”“数据资产评估”“智能财务”“政府预算绩效评价”四大方向,开展政策研究、行业咨询与人才培养工作,力争三年内形成一批具有决策影响力、行业引导力的研究成果,为西安市乃至陕西省的科技创新与产业升级提供智力支持。

2025年是会计与金融学院科研工作蓬勃发展的一年。各项成果的取得,是学院全体教师辛勤耕耘、锐意进取的结果,也是学校大力支持和各合作单位密切协作的体现。展望未来,会计与金融学院将继续坚持“面向需求、聚焦特色、强化应用、推动转化”的科研工作方针,进一步深化科研体制机制改革,加强高层次科研团队建设,促进更多高质量成果产出与转化,为学校建设高水平应用型大学,为服务国家与区域经济社会发展做出新的更大贡献!