(一)办理目的
为不断提高党员组织关系转接工作质量,严格组织关系管理,规范转接流程,落实工作责任,将工作做严、做细、做实,有效提升党员组织关系管理水平。
(二)适用范围
适用于西安培华学院二级学院党委(党总支)、直属党支部进行党员组织关系转接工作。
(三)内容及程序
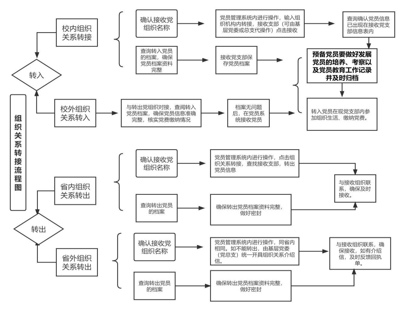
1.组织关系转接分为转出和转入;转入分为校内转入和校外转入;转出分为省内转出和省外转出。
2.校内组织关系转出需要确认接收党组织名称,在党员管理系统内进行操作,同时接收转入党员的档案资料,并编入党支部参加党员组织活动。
3.接收预备党员要注意做好发展党员的培养、考察工作。
4.校外组织关系转出首先查阅转入党员的档案资料,确定党员资料准确、完整、无误后再在党员管理系统内进行操作,输入接收党组织名称,完成接收,并编入党支部参加活动。
5.省内组织关系转出,需要在党员系统进行操作,输入转入的组织名称,并将党员档案进行密封自提,及时跟踪完成组织关系接收工作。
6.省外组织关系转出,可以在党员系统进行操作,同省内转出步骤;如不能进行线上系统转接的需要党组织开具介绍信,确认好介绍信上的转入的组织名称,并将党员档案进行密封自提,及时跟踪完成组织关系接收,收回介绍信回执单。
(四)工作流程图

(五)记录及表单
表单名称 |
份数 |
是否存档 |
1.毕业生党组织关系转出信息登记表 |
1 |
是 |
2.介绍信的回执单 |
1 |
是 |
3.教师党员转入(出)的登记表 |
2 |
否 |
编辑:张沐霖